HOME
BLOG
FOOTPRINTS
RSS
ExitCode: 128 之无任何错误信息
Nov 21 2019

今天在使用 Drone CI 构建项目时出现一个异常奇怪的错误。

clone 某分支代码时构建直接失败退出了。

首先我排查了 rpc error,发现这个错误出现的原因是正在获取 PodLog 的过程中,Pod 被删除了。

当时我就觉得很奇怪,就算因为 Step 执行失败要删除 Pod,那也会先停止 getLog,而不是在 getLog 的过程中直接删除 Pod。

于是使用了 kubectl describe 了这个 Pod,发现该 Container 的 Exit Code 是 128。说明是该 Container 执行时出错,自己退出的。

但是从上图的日志中来看 Container 应该是执行成功了,并没有出现错误的日志。那为什么该 Container 的退出码是 128 而非 0 呢。

于是我开始怀疑是不是 git checkout -b master 时出现了错误,于是我在 Docker 容器中模拟了该 Step 的步骤,git checkout -b master | echo $?,发现即使是显示 Already on master 它的退出码也是 0。于是排除了是 git 出错的可能性。

那么问题出在哪呢?

经过一段时间排查,我发现只有当 Imageregistry.cn-hangzhou.aliyuncs.com/xxx/xxxx:xxx 是才会出现这种不正常情况。

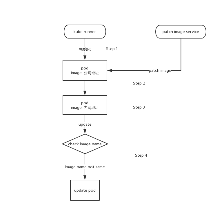
原来是因为我们集群里还运行着另一个服务,该服务会在 Pod 被创建时判断 Image 的类型,将这种使用了公网地址的 Image,替换成使用内网地址 registry-vpc.cn-hangzhou.aliyuncs.com/xxx/xxxx:xxx。再加上我刚好对 drone-runner-kube 做过一些优化(提前设置初始镜像,减少 pod update 次数)。导致了这两个服务冲突。

在 runner 创建 pod 时,先将 image 设为了公网地址(Step 1),接着 image 被另一个服务设置成了内网地址,并提交到 k8s 中运行了。然后 runner 通过对比发现 pod 的 image 不是自己刚开始设置的 image,于是就 update 了这个 pod(Step 4)。

因为 Update Image 的缘故导致了该 Step 没有按期望运行。所以出现了这个默默奇妙的错误。

解决方法:将 Image 的初始地址设置成内网地址,这样另一个服务就不会去修改该 Pod 的 Image,也就不会出现该错误。