今天在使用 Drone CI 构建项目时出现一个异常奇怪的错误。

在 clone 某分支代码时构建直接失败退出了。
首先我排查了 rpc error,发现这个错误出现的原因是正在获取 Pod 的 Log 的过程中,Pod 被删除了。
当时我就觉得很奇怪,就算因为 Step 执行失败要删除 Pod,那也会先停止 getLog,而不是在 getLog 的过程中直接删除 Pod。
于是使用了 kubectl describe 了这个 Pod,发现该 Container 的 Exit Code 是 128。说明是该 Container 执行时出错,自己退出的。
但是从上图的日志中来看 Container 应该是执行成功了,并没有出现错误的日志。那为什么该 Container 的退出码是 128 而非 0 呢。
于是我开始怀疑是不是 git checkout -b master 时出现了错误,于是我在 Docker 容器中模拟了该 Step 的步骤,git checkout -b master | echo $?,发现即使是显示 Already on master 它的退出码也是 0。于是排除了是 git 出错的可能性。
那么问题出在哪呢?
经过一段时间排查,我发现只有当 Image 为 registry.cn-hangzhou.aliyuncs.com/xxx/xxxx:xxx 是才会出现这种不正常情况。
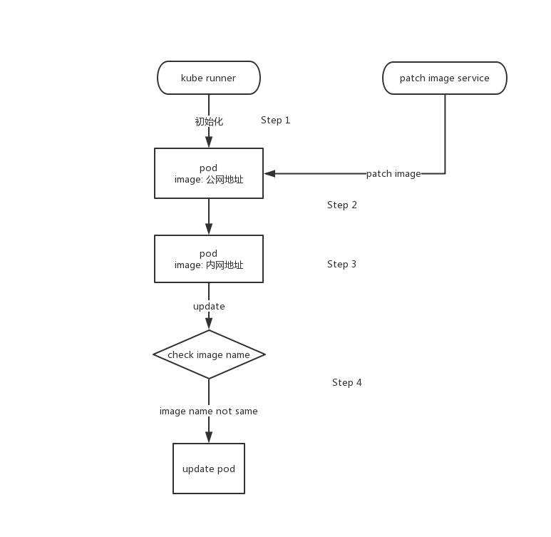
原来是因为我们集群里还运行着另一个服务,该服务会在 Pod 被创建时判断 Image 的类型,将这种使用了公网地址的 Image,替换成使用内网地址 registry-vpc.cn-hangzhou.aliyuncs.com/xxx/xxxx:xxx。再加上我刚好对 drone-runner-kube 做过一些优化(提前设置初始镜像,减少 pod update 次数)。导致了这两个服务冲突。

在 runner 创建 pod 时,先将 image 设为了公网地址(Step 1),接着 image 被另一个服务设置成了内网地址,并提交到 k8s 中运行了。然后 runner 通过对比发现 pod 的 image 不是自己刚开始设置的 image,于是就 update 了这个 pod(Step 4)。
因为 Update Image 的缘故导致了该 Step 没有按期望运行。所以出现了这个默默奇妙的错误。
解决方法:将 Image 的初始地址设置成内网地址,这样另一个服务就不会去修改该 Pod 的 Image,也就不会出现该错误。